• EAZ0070G55A
  • EAZ0070G58A
  • EAZ0070G61A
  • EAZ0070G62A
  • EAZ0070G63A
  • EAZ0070G64A
  • EAZ0088G16A
  • EAZ0088G22A
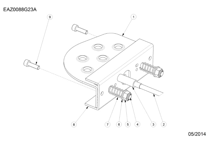
  • EAZ0088G23A